Trommelmagazine

Trommelmagazine (Wechseltrommeln)

Das Trommelmagazin ist wohl die praktikabelste Art um Diabolos in mehrschüssige CO2-Waffen vorzuladen, was die Verhinderung von Zuführungsstörungen und der damit verbundenen Ladehemmung betrifft. Es gibt zwar durchaus auch einige Mehrlader mit anderen Lösungen wie Reihen- (z.B. “Gamo”), Ketten (“ANICS”), oder Extrudermagazine (“Daisy”), aber allen gemeinsam ist diesen eine erhöhte Munitionsfühligkeit.

Trommelmagazine sind da weitaus störungsfreier im Gebrauch, bringen allerdings auch einen gewissen Nachteil mit sich. So sind keine semiautomatischen Schussfolgen damit möglich, da vor jedem Schuss die Trommel mechanisch um eine Kammer weiter gedreht werden muss, um das nächste Diabolo vor den Laufeingang zu platzieren. Ausserdem entsteht am Spalt zwischen Trommel und Laufansatz ein gewisser Druckverlust durch entweichenden Gasdruck. Jedoch überwiegen bei Diabolomunition die beschriebenen Vorteile der Trommel. Rundkugeln lassen sich natürlich besser in Röhrenmagazinen unterbringen, diese Projektile haben jedoch ballistische Nachteile gegenüber den Diabologeschossen, lassen dafür aber wie erwähnt halbautomatische Schussfolgen zu.

Häufig finden Trommelgagazine auch in CO2-Kurzwaffen Verwendung, die optisch einem realen Pistolenmodell nachempfunden sind (z.B UMAREX “Walther CP88”). Technisch handelt es sich bei diesen CO2-Repliken aber nicht um Pistolen, sondern um Revolver mit innenliegender Trommel. Dieser Sachverhalt verschlechter natürlich die Abzugscharakteristik (Vorzugsweg und Widerstand), da im Gegensatz zu einer halbauto- matischen Pistole, bei jedem Betätigen des Abzugs auch die Trommel weitergedreht werden muss.

Als Zubehör sind für etliche der Trommeln Schnellladewerkzeuge (Speedloader) im Fachhandel erhältlich. Damit ist ein rasantes Vorladen der Magazine möglich, was das Nachladen der Waffe  im Schießbetrieb erheblich erleichtert und beschleunigt, sowie den Hautkontakt mit dem giftigen Blei drastisch reduziert.

Der Diabolo-Speedloader --->  

Gehe zu Anbieter/Hersteller:

Baikal

Crosman

Daisy

Gamo

Röhm

UMAREX

Valtro

 

Baikal

“Baikal MP-514K”

Fotos unten: Das “Baikal MP-514K” ist eine Langwaffe in “Bullpup”-Bauweise mit Federkolbensystem. Mitge- liefert werden zwei Magazin-Typen. Eines für Diabolo-Geschosse mit einer Kapazität von 8 Projektilen und ein weiteres für 10 Kugeln BB.

    

    

    

 

Baikal MP-651K”

Bilder unten: Die beiden verschiedenen Metall-Trommeln für die russische “Baikal MP-651”. Diese haben jeweils 8 Kammern. Ihre Transportrastung befindet sich auf der dem Ventil zugewandten Seite. Eine Trommel ist für das Bestücken mit Bleidiabolos ausgelegt, die andere nimmt Stahl-BBs auf. Bei diesen haben die Trommelkammern hinten einen geringeren Durchmesser, sodass die Kugeln nicht nach hinten herausfallen können.

Foto unten: Trommel für Stahlkugeln mit Verengung der Kammern (Pfeil).

 

“Baikal MP-655K”

Bilder unten: Die beiden verschiedenen Metall-Trommeln für die russische “Baikal MP-655K” (Pistolen-Modell 2008 erschienen). Diese haben jeweils 8 Kammern. Ihre Transportrastung befindet sich auf der dem Ventil zugewandten Seite. Eine Trommel ist für das Bestücken mit Bleidiabolos ausgelegt (auf den Fotos jeweils links im Bild), die andere nimmt Stahl-BBs auf. Die Stahlkugeln werden durch einen eingebauten Magnetring gehalten, welcher diese zuverlässig am Herausrollen nach vorne hindert. Hinten haben die Trommelkammern einen geringeren Durchmesser, sodass die Kugeln nicht nach hinten herausfallen können.

    

 

Crosman

Die amerikanische Firma Crosman bietet für etliche ihrer CO2-“Pistolen”-Modelle 8-schüssige Plastiktrommeln (Bild unten links) an. Diese passen z.B. in die Modelle: “1008”, “1710”, “C(B)40”, “CK92” .

Die 12-schüssige Plastiktrommel (Bild rechts unten) gehört zur Crosman Langwaffe Modell 1077. Sie wird zunächst in eine entnehmbare Magazinhalterung implementiert und dann damit in die Waffe eingesetzt.

  

Bilder unten: Trommeln für “Crosman 1088” (Pistolen-Modell 2006 erschienen). Diese haben 8 Kammern, ihre Transportrastung befindet sich auf der dem Lauf zugewandten Seite. Geladen werden können sowohl Blei- diabolos, als auch Stahlkugeln. Die Kugeln werden durch einen ins Trommelinnere implementierten Magneten gehalten, welcher diese zuverlässig am Herausrollen hindert.

  

Foto unten: Magazine der “Crosman T4”

Bilder unten: Revolvertrommeln 6-schüssig (links) und 10-schüssig (rechts) für Modell Crosman 357.

  

Lange Zeit gab es die 10er Trommel ausschließlich in grau und war optisch der “Stainless”-Variante (8-Zoll) zugedacht. Erst sehr viel später, mit der Modellmodifikation des “357”, war sie dann auch in Schwarz verfügbar (Vergleichsbild unten).

Bilder unten: Auf Basis des “357” baute Crosman eine Zeit lang auch eine Paintball-(Gotcha)-Version mit der Bezeichnung “3357” und verlängertem Rahmen für die überdimensionale Trommel. Die Trommelkammern für die Farbkugeln sind für Kaliber .50 ausgelegt.

  

Beim Crosman-CO2-Gewehr (Voderschaftrepetierer) Modell 622 “Pell Clip Repeater” sitzt die 6er-Trommel fest eingearbeitet in einem Ladeclip. Das Modul besteht aus Plastik, Kammern in Kaliber .22 (Bilder unten).

  

 

Daisy

Bild unten links: Für den Daisy-Revolver “Modell 44” sind ausschließlich schwarze Plastiktrommeln mit 6 Kammern verfügbar. Ein “Pistolen”-Modell dieses amerkanischen Herstellers, bei dem eine innenliegende Trommel zu finden ist, ist das Modell “622X” (“Beretta 92”-Replik), im Kaliber 5,5 mm (.22). Es handelt sich um eine Plastiktrommel mit ebenfalls 6 Kammern (Bild unten rechts).

  

Bild unten: Trommelmagazin für Modell “Daisy 008 Dual Ammo”. Kunststoffmagazin mit eingebautem Magnet. Dieser Magnet ermöglicht es, neben Bleidiabolos auch Stahlrundkugeln in die Trommel zu laden, da diese vom Magneten in den Kammern gehalten werden.

 

Gamo

Die spanische Firma “Gamo” hat zwei “Pistolen”-Modelle mit innenliegender Trommel im Programm. Die Plastik-Magazine der “PT80” und “PT90” sind unterschiedlich ausgeprägt und leider nicht kompatibel. (Bilder unten)

  

Für das Pumpaction-Gewehr “Extreme CO2” schickt “Gamo” 10er-Trommeln mit Gummi-Halteringen ins Rennen. (Bilder unten)

 

Röhm

Die Firma Röhm setzt bei ihren Freizeitwaffen der Twinmaster-Baureihe ebenfalls auf 8-schüssige Trommelmagazine, die aus Metall gefertigt und schwarz lackiert sind (Bild unten). Bei den Matchwaffen wird anstelle der Trommel eine ausschwenkbare Einzelladevorrichtung in die Waffe eingesetzt. Für die Trommeln bietet Röhm eine funktionelle und empfehlenswerte Ladehilfe an.

   Der Röhm “Speedy” --->

 

UMAREX

Metalltrommeln mit 8 Kammern werden auch in den Diabolomunition verschießenden “Pistolen”-Modellen der Marke UMAREX verwendet: Walther CP88, RWS C225, Beretta 92F, Colt Government, Walther CP99, CPS, Nighthawk, Red Hawk, Red Storm und Desert Eagle sowie ebenso das Walther Lever-Action Gewehr. Das Bild unten rechts zeigt zwei UMAREX-Trommeln mit unterschiedlicher Transportrastung, die gerade erst optimiert wurde. Rechts im Bild ist die neue Version zu sehen. Beide Varianten lassen sich problemlos in allen genannten Modellen verwenden.

  

Die UMAREX-Pistole “Smith & Wesson M&P 45” (neu 2011) wird in Deutschland mit dem üblichen Metallmagazin für Diabolos im Kaliber 4,5 mm ausgeliefert (auf den Fotos unten jeweils rechts im Bild). Auf dem US- amerikanischen Markt kommt auch ein schwarzes Kunststoffmagazin zum Einsatz, welches laut Hersteller für die Verwendung von 4,5 mm Stahl-BBs gedacht ist. Da die Waffe einen gezogen Lauf besitzt, ist m. E. von der Verwendung von Stahl-BBs dringend abzuraten.

  

Der UMAREX-Revolver “Smith & Wesson 586/686” wird mit Metalltrommeln bestückt, die 10 Diabolos aufneh- men können. Diese sind schwarz gefärbt. Auch beim Modell “686”, also der vernickelten Version, wird aus fertigungstechnischen Gründen eine schwarze Trommelscheibe geliefert.

UMAREX 850 Air Magnum

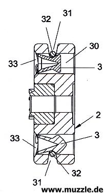
Hier geht UMAREX neue Wege und setzt nicht mehr auf das von den CO2-Kurzwaffen und dem Lever-Action-Gewehr bekannte Druckgussmagazin. Die Trommel ist mit einem Durchmesser von 29,8 mm nun deutlich größer und mit einer Stärke von 10 mm auch merklich dicker. Dies macht das Magazin handlicher und lässt das Laden auch längerer Diabolosorten zu. Es besteht aus schwarzem Kunststoff mit einem Transport-Rastkranz aus Metall.

Die Trommel weist am radial äußeren Rand eine umlaufende Nut auf, in die ein Gummi-O-Ring eingelassen ist. Der O-Ring ragt radial von außen ein Stück weit in die einzelnen Bohrungen hinein, da sein Durchmesser etwas geringer ausfällt als der Außenradius der acht Geschosslager. Besagter Ring greift somit in die Taille der eingeführten Diabolos und hält diese in ihren Kammern. Selbst wenn mal eine geladene Trommel zu Boden fällt, verbleiben die Geschosse in ihrer Position und fallen nicht heraus.

  

  

  

Bilder unten: Laderinge der Trommel des Softair-Revolvers “Ruger Super Hawk” für 8 Kugeln im Kaliber 6 mm

Bilder unten: Laderinge der Trommel des CO2-Revolvers “Smith & Wesson M&P R8” für 8 Kugeln im Kaliber 4,5 mm

    

 

VALTRO

Neben der Verwendung von zwei CO2-Kapseln gleichzeitig, ist sicher das doppelreihige Trommelmagazin DIE technische Besonderheit der “Valtro Airgun 92 Twin Power”-Pistole, handelt es sich hier doch um eine paten- tierte Weltneuheit.

Foto unten links: Die beiden unterschiedlich geformten Trommelmagazine, jeweils mit Vorder- und Rückseite. Auf der linken Seite des Fotos sieht man das vordere Magazin: Oben die Vorderseite mit der Transportrastung, unten die rückwärtige Ansicht mit dem Mitnehmerstift für die hintere Trommel. Die rechte Seite zeigt das hintere Magazin: Oben Vorderseite (zum Lauf hin) mit der Fuge für den Mitnehmerstift, unten die Rückansicht.

    

Foto obenrechts: Unterhalb des Laufeingangs befindet sich die Trommelachse aus Stahl, welche das zwei- reihige Doppeltrommelmagazin aufnimmt. Die Transportklinke, die bei Abzugsbetätigung für die Trommel- drehung verantwortlich ist, befindet sich links unterhalb der Trommelachse.

Fotos unten: Eingesetzt werden die beiden Plastik-Magazine mit der roten Markierung nach oben. Die Löcher unter der Markierung werden nicht mit Diabolos geladen, sondern müssen frei bleiben. Deren Lochdurchmesser ist geringfügig größer als die der Ladekammern.

    

 

Zu allen genannten Waffenmodellen finden sich hier auf “muzzle.de” Berichte im Bereich CO2-/ Softair-Waffen.

GUNIMO

Oktober 2005 / April 2006 / Dezember 2006 / Januar 2008 / März 2009 / August 2010 / September-Oktober 2011 / März 2012 / November 2013